管路附件的种类繁多,用途各异,按形式可分为连接附件、阀件(包括截止阀件类、自动阀件类、阀箱等)、检查和测量及液位指示附件、其他附件(包括滤器、泥箱、吸入口、空气管头、测量管头、排水口、液流观测器、管子吊架和密封材料等)。
第一节 第一节连接附件
连接附件的用途是将管系中的机械、设备、仪表附件和管子等相互连接起来。船舶常用的连接形式有法兰连接、螺纹连接、焊接连接、夹布胶管连接、通舱管件及座板连接和膨胀接头连接等。
一、法兰连接
法兰连接是目前船舶管路连接的最主要的形式。它的优点是结合强度高、拆装方便、适用范围广,几乎可适用于一切管路的连接。按连接方式分,目前最常用的法兰连接采用搭焊法兰、对焊法兰和松套法兰三种形式;按法兰的材料分有钢法兰、铜法兰和不锈钢法兰等;按法兰的螺孔只数分,有四进位法兰和二进位法兰;按世界上法兰的体系分有ISO(国际)标准法兰、JIS(日本)标准法兰、ANSI(美国)标准法兰。中国标准法兰有国家标准(GB)(采用ISO标准)、行业标准(CB)(采用前苏联标准,即二进位法兰)和外贸标准(CBM)(采用JIS标准)。下文先按连接的方式和二进位法兰为例介绍常用的法兰类型。
1. 船用搭焊钢法兰(以CB/T46-1999为例)
图2.1.1为船用搭焊钢法兰。这种法兰的特点是制造简单,结合可靠,但不能承受较高的压力,适用于公称压力PN≤1.6MPa(16kgf/cm²)和工作温度t≤300℃的管路。它的公称通径DN的范围为20mm~500mm。

搭焊钢法兰的制作材料为Q235-A。法兰选用时,要注意公称通径、适用公称压力(0.6、1.0和1.6MPa)与工作温度之间的相互配合关系。在t≤200℃时,它们的最大工作压力分别0.6、1.0和1.6MPa,随温度的升高最大工作压力会下降。见表2.1.1所示,除JIS标准外几乎所有法兰标准都有这样的规律。其次是相同公称通径,但公称压力不同时,法兰的规格尺寸可能相同,也可能不同。
⑴ 公称通径DN=20~50mm时,公称压力PN为0.6、1.0和1.6MPa的法兰都是同一种规格尺寸。
⑵ 公称通径DN=65~150mm时,公称压力PN为0.6、1.0MPa的法兰是同一种规格尺寸;1.6MPa的法兰是另一种规格尺寸。
⑶ 公称通径DN=175~500mm时,公称压力PN为0.6、1.0和1.6MPa的法兰规格尺寸均不相同,即有三种规格尺寸。

法兰规格尺寸的不同,主要表现在法兰的外径D、螺孔中心圆直径D1、法兰厚度b、螺孔直径(配螺栓直径)d和螺孔的个数等方面。一般来说,随着公称压力的增大 ,要相应增大法兰的外圆尺寸、厚度和增加螺栓的个数和直径。例如,DN=65mm、PN= 0.6、1.0MPa的搭焊钢法兰,其外径为155mm,厚度为14mm,螺孔直径为15mm(螺栓直径为M14),螺孔数为6只;而DN=65mm、PN= 1.6MPa的搭焊钢法兰,其相应尺寸为170mm、18mm、17mm(M16)和螺孔数8只。
此外 ,选用法兰时还要特别注意法兰内径与管子外径的配合,由于法兰标准上所标的管子外径与法兰内径DW一般均为适用的管子外径,实际法兰内径在法兰施工图上标明。因而当管子外径与标准中的DW不一致时,法兰的内径必须作相应的修改。本系列标准所适用的管子外径与目前民用船舶上使用的管子外径系列有很大的不同,特别要注意。
管子与法兰搭焊时,要求管子中心线与法兰端面保持垂直,偏差不得大于30ˊ。搭焊钢法兰均采用双面焊接,管子端面插入法兰的位置应距法兰面4 mm ~11mm,按标准进行选择。
本标准法兰的密封面上都有2~3道三角形的环形槽(法兰线),其作用是当一对法兰连接时,法兰间的垫片就被压入槽内,从面提高了法兰的密封性。连接螺栓旋紧时,要按“十字交叉法”顺序进行,以便垫片各处受力均匀,保证其密封性。固紧后的螺栓露出螺母的长度应为0~0.5螺栓直径,最好为3牙。
2. 船用对焊钢法兰(以CB/T47-1999为例)
船用对焊钢法兰所用的材料为Q235-A(PN为 2.5MPa)或Q255-A(PN为 4.0 MPa和6.4MPa)制造。亦允许用铸钢毛坯,并经锻造和热处理后制成。
船用对焊钢法兰有两种结构形式,图2.1.2(a)为公称压力是2.5MPa的对焊钢法兰,其密封面采用三角形密封槽(法兰线)形式,公称通径为DN20mm ~400mm;而图2.1.2(b)为公称压力是4.0MPa和6.4MPa带凸肩的对焊钢法兰,其密封面采用具有定中心和密封作用的凹凸密封形式,所以能承受更高的压力。公称压力为PN4.0 MPa的法兰,公称通径为20mm~350mm,而PN6.4MPa的法兰,公称通径为20 mm ~300mm。本标准法兰的最大工作温度为400℃。对焊钢法兰主要用于蒸汽、压缩空气和液压等的高压、高温管路上。

由于法兰与管子采用对接的形式,所以管子的内外径应与法兰的内径及焊缝处的外径要一致,内径的允许偏差:当管子外径DW≤219mm时 为0~ -0.5mm,当管子外径DW>219mm时为0~ -1mm。同时管子与法兰对接处要求平整,确保间隙均匀,管端一般均应开有焊接坡口,确保焊透。如有条件,应先用氩弧焊或CO2焊作为打底焊。内场加工时,要注意法兰的形式,特别是凹凸法兰不能用错。
3. 船用松套法兰(以CB/T49-1999~CB/T52-1999为例)
松套法兰的形式也有好几种,主要有船用搭焊钢环松套钢法兰、船用对焊钢环松套钢法兰、船用焊接铜环松套钢法兰、船用铜管折边松套钢法兰等。图2.1.3所示的松套法兰就是常用的三种形式。

图2.1.3(a)所示的为CB/T49-1999船用搭焊钢环松套钢法兰,适用于公称压力不大于1.6 MPa,工作温度不高于300℃的船舶管路;而(b)所示的为CB/T50-1999船用对焊钢环松套钢法兰中压力等级为2.5MPa的形式,压力为4.0MPa或6.4MPa的对焊松套法兰的密封面形式同图2.1.2。最大工作温度可达400℃;CB/T51-1999为船用焊接铜环松套钢法兰,适用于工作压力0.6MPa~2.5 MPa、工作温度300℃铜管。结构形式与CB/T49-1999相同,但铜环材料为ZCuZn16Si4(硅黄铜)或H90;而(c)所示的为CB/T52-1999船用铜管折边松套钢法兰,其松套为由紫铜管、铝黄铜管或白铜管挤压成型或机加工成型。与管子的连接方式也有区别,可以套接和对接,适用于相应的有色金属管。
松套法兰的特点是,管子内场制造时不必考虑法兰的螺孔位置;管子为有色金属时,仅松套为铜质,法兰为钢质,节约了有色金属,但又具有有色金属的耐腐蚀性,降低了成本。但产生了新的问题,即由于材料的不同,使电位差腐蚀的情况严重。目前在民用船舶上使用不多,在军用船舶上使用较广泛,同时要采取消除电位差腐蚀的措施。
4. 法兰标准
⑴ 二进位法兰
前面介绍的CB标准为船舶行业标准。它特点是法兰的螺孔为二进制,即法兰的螺孔最少为四只,然后随法兰通径的增大其螺孔每二只二只增加,所以法兰的螺孔有四只、六只、八只、十只……等。主要的CB法兰标准有:
CB/T46-1999 船用搭焊钢法兰
CB/T47-1999 船用对焊钢法兰
CB/T48-1999 船用焊接铜法兰
CB/T49-1999 船用搭焊钢环松套钢法兰
CB/T50-1999 船用对焊钢环松套钢法兰
CB/T51-1999 船用焊接铜环松套钢法兰
CB/T52-1999 船用铜管折边松套钢法兰
以上法兰的适用范围及规格除了CB/T48-1999船用焊接铜法兰外,在前面已经进行了介绍。CB/T48-1999标准适用于必须用铜法兰的地方,以上标准目前仅在军船上使用。
⑵ 四进位法兰
ISO、JIS、ANSI和我国的CBM法兰标准均为四进位的法兰标准。其中CBM标准是船舶行业的外贸标准,是二十世纪八十年代初我国刚开始建造出口船舶时引进的JIS和ISO两套不同的标准体系,并进行了中国化工作。为了有所区别,CBM999以下的与ISO标准等同,CBM1000以上的与JIS标准等同。ISO标准基本上与DIN标准相同。经过二十多年实践,为了进一步理顺法兰的标准体系,国家标准化委员会于二十世纪八十年代末重新对法兰标准进行整理。主要是取消了CBM标准中与ISO标准等同的标准,将其升级为GB标准系列。因而目前我国的四进位法兰标准体系是国家标准GB和船舶外贸标准CBM(JIS标准)。
以下是一些主要的四进位法兰标准:
符合ISO标准的法兰有:
GB/T2501-1989 船用法兰连接尺寸和密封面(四进位)
GB/T2506-1989 船用搭焊钢法兰(四进位)
GB/T2508-1989 船用搭焊钢环松套钢法兰(四进位)
GB/T10746-1989 船用对焊钢法兰(四进位)
GB/T10747-1989 船用对焊钢环松套钢法兰(四进位)
GB/T10748-1989 船用焊接铜环松套钢法兰(四进位)
GB/T10749-1989 船用铜管折边松套钢法兰(四进位)
符合JIS标准的法兰有:
CBM1012-81 PN0.5MPa搭焊钢法兰
CBM1013-81 PN1.0MPa搭焊钢法兰
CBM1014-81 PN1.6MPa搭焊钢法兰
CBM1015-81 PN2.0MPa搭焊钢法兰
CBM1016-81 PN3.0MPa搭焊钢法兰
CBM1017-81 PN3.0MPa对焊钢法兰
CBM1018-81 PN4.0MPa对焊钢法兰
CBM1019-81 PN6.3MPa对焊钢法兰
由于80年代我国开始建造出口船时大量引进的是日本标准体系,所以目前符合JIS标准的CBM标准使用得很广泛,而且现在世界上正在运行的由日本建造的船舶也占大多数,故JIS标准仍是世界上通用的标准。但从国家整个标准体系来说CBM标准应是一个过渡的标准,应逐渐取消。
另外,根据2004年国家标准化委员会的要求,船用法兰标准将有较大的变化,主要是在二到三年内把目前的15个关于法兰的国家标准整合为6-7个标准,因而在实际工作中要注意这些变化。
JIS标准与ISO标准体系的区别主要体现在:
压力分级不一样:ISO标准为 0.2、0.6、1.0、1.6、2.5、4.0、6.4MPa;
JIS标准为 0.25、0.5、1.0、1.6、2.0、3.0、4.0、6.3 MPa。
标准系列不一样:ISO标准为每种材料每种结构不同的压力级组合成一个标准;
JIS标准为每一个压力级每种材料每种结构为一个标准。
常温下法兰的最大工作压力也有些不同。例如钢法兰的使用温度大于200℃时,两种标准的最大工作压力均随温度升高而降低;但JIS标准规定工作温度小于200℃时,允许最大工作压力随温度降低而升高。
法兰的结构尺寸不一样:法兰的外径、厚度、螺孔的大小和数量、螺孔中心节圆的直径、密封面形式等可能都会有不同。
四进位法兰与二进位法兰相比其最大的优点是有利于管子的生产设计和内场校管工作。
另外,在JIS标准中,同一压力级的钢法兰可能有不同的结构形式;不同压力级的钢法兰的结构形式可能是相同的也可能是不同的。见表2.1.2。

5. 法兰标准的标记
船用法兰一般均为标准产品。按照目前大部分标准的规定,法兰的标记组成如下:
名称+压力等级+通径+标准号
其中压力等级和通径用数字表示,通径用三位数字表示,不足三位的加0,超过1000mm的通径用四位数表示;压力用放大10倍的MPa数值表示。
例如:压力等级PN=0.5MPa、公称通径DN=100mm、CBM1012标准法兰,其标记为:
搭焊钢法兰 5100 CBM1012-81
压力等级PN=1.6 MPa、公称通径DN=50mm、GB2506标准法兰,其标记为:
船用搭焊钢法兰 16050 GB 2506-1989
但新标准对法兰标记的规定有了变化,即将压力等级和通径移到了标准号的后面。
6. 法兰连接螺栓的选用
船用法兰的连接螺栓一般都使用Ⅰ级精度普通粗牙螺纹。螺栓和螺母的材料为优质碳素钢,为了避免由于旋紧后螺栓受到损伤,钢制螺栓的机械性能等级一般都大于螺母的等级。例如用4.8级螺栓时,可用4级螺母。螺母的强度等级一般有4、5、6、8、9、10、12,螺栓的机械性能等级一般有3.6、4.6、4.8、5.6、5.8、6.8、8.8、9.8、10.9、12.9。螺母的等级和螺栓等级的整数均表示材料抗拉强度的1/100。
除了螺栓材料的选用外,还要考虑选用合适的螺栓直径M和长度L。螺栓直径M一般比法兰螺孔直径d小1~2mm。螺栓的长度应为法兰旋紧后露出螺母0~0.5螺栓直径,具体计算公式为:

由于螺栓的长度已标准化,计算出的理论长度L0为一范围,可在此范围内选择符合标准的螺栓长度L。螺栓的标准长度如下:20、25、30、35、40、45、50、55、60、65、70、75、80、90、100、110、120、130、140、150、160、180、200、240、260、280、300mm等。如果标准长度不能满足需要时,可以提出特殊的订货要求,长度间隔一般为5mm。
而常用连接螺栓的螺距t和螺母的厚度H也是已知的,见表2.1.3 。

例:已知一对法兰(16065 CB/T46-1999)使用非石棉橡胶垫片连接时,应选用连接螺栓的规格如何?
根据所采用的法兰标准,查阅有关资料可知道法兰厚度b=18mm,螺孔直径d=17mm。
已知:b=18mm d=17mm δ=3mm
求:M 和L
解:M=d—(1~2)=17—(1~2)=15~16
故M取16mm
根据表2.1.3可知M16螺栓的螺距t=2,螺母的厚度 H=13
l= 2b+H+δ+(0~0. 5)M=218+13+3+(0~0. 5 )16=52~60mm
L取55mm。从计算结果看,也可取60mm,但已露出螺母4牙,故不合适。
答:所取螺栓的规格为M1655mm。
二、螺纹连接
当管子与管子及管子与机械、设备、附件之间是利用螺纹进行连接时,这种连接方式称为螺纹连接。螺纹连接主要有低压管子螺纹接头、高压管子螺纹接头、锥面螺纹接头、卡套接头和由任接头等,其中由任接头主要用于带螺纹的水煤气管,船舶上很少使用。螺纹连接方式的优点是拆装方便,占用空间位置小、布置紧凑。
- 低压管子螺纹接头
低压管子螺纹接头的标准主要有CB*56-83 管子平肩螺纹接头和CB*821-84 低压管子螺纹接头。CB*56-83 管子平肩螺纹接头适用于PN为1.6 MPa -10.0MPa,DN3mm-32mm的油类、水和空气管路;CB*821-84 低压管子螺纹接头适用于PN<1.57MPa,DN3mm-32mm的船舶管路。除了适用范围不同外,两种接头与管子的连接方法也不同,CB*56-83均采用搭焊,而CB*821-84采用对接焊。其他结构形式基本相似。下面以CB*56-83标准为例进行介绍。
管子平肩螺纹接头的分类:A型为搭焊中间平肩螺纹接头、B型为搭焊旋入平肩螺纹接头、C型为搭焊支管平肩螺纹接头、D型为搭焊外套平肩螺纹接头、E型为搭焊异径外套平肩螺纹接头。其中最常用的为A型和B型。
搭焊中间平肩螺纹接头如图2.1.4(a)所示。它由中间螺纹接头、垫片、平肩接头和外套螺母组成。用于管路中两段管子的连接;当支管的直径远小于总管的直径时,也可以直接焊在总管上作开支管之用。
搭焊旋入平肩螺纹接头如图2.1.4(b)所示。它由旋入螺纹接头、内外垫圈、平肩接头和外套螺母组成。用于管子与机械设备、附件间的连接。由图可以知道这两种接头的区别仅在于旋入接头的一端为外螺纹,可以直接旋入到设备或附件的内螺纹中。本标准的旋入接头两端的螺纹相同,均为公制细牙螺纹M18×1.5~M56×2。但CB*821-84标准中旋入接头的两端螺纹不相同,与外套螺母相接的螺纹为M16×1.5~M48×2,而旋入端为M10×1~M42×2;另外还有市场品的旋入接头,它与外套连接的螺纹不变,另一端为圆柱或圆锥管螺纹G~G1 或Rc~Rc1 。选用时为特别注意,不要搞错。

搭焊平肩螺纹接头的材料主要为优质碳素钢,其平肩接头和螺纹接头还可按要求采用镍铬钛钢(1Cr18Ni9Ti)、锰黄铜(HMn 58-2)或铝青铜(QAl9-2),外套螺母还可用铅黄铜(HPb59-1)制成。内外垫圈应按介质要求选用,但必须是无石棉的垫圈。旋入螺纹采用圆锥管螺纹时,没有垫圈,但螺纹上应缠有聚氯乙烯密封带(生料带)。
2. 高压管子螺纹接头
主要的标准有CB*822-84,它适用于公称压力PN大于9.8MPa,至24.5MPa的船舶管路。它有8种不同的型式,分两大类四种。两大类为A、B、C和D型为搭焊接头,E、F、G和H为对焊接头,相应接头的其他结构均相同。四种为中间螺纹接头、旋入螺纹接头、外套螺纹接头和异径螺纹接头。图2.1.5所示为搭焊(对焊)中间螺纹接头。基本结构与低压接头相同,主要的区别在平肩接头与中间接头相配合面处的结构不同。低压螺纹接头的垫圈是套在中间接头上的,而高压螺纹接头的垫圈是置于平肩接头的凹坑内。这一改动使接口处垫圈不容易产生泄漏,提高了密封性,使它能承受高压。

3. 锥面螺纹接头
锥面螺纹接头的密封形式与平肩螺纹接头的形式完全不一样,平肩螺纹接头的密封是一个平面,通过软垫圈压缩后形成密封。而锥面螺纹接头的密封靠外套螺母将一个锥面与一个球面紧密接触而保证其密封性能,两个零件之间没有垫圈,理论上它们接触的是一条线,实际上是一条很窄的环形球面。因而是硬密封。
图2.1.6所示为钢管用锥面螺纹接头,它由乳形接头、锥面中间接头和外套螺母组成。常用的锥面螺纹接头标准有CBM1117-82 铜管用乳形接头和CBM1118-82 钢管用乳形接头。前者的适用范围为最大工作压力2.0MPa的空气、油和水;或最大工作压力1.6MPa、工作温度小于205℃的蒸汽。后者的适用范围为最大工作压力4.0MPa的空气、油和水;或最大工作压力3.2MPa、工作温度小于205℃的蒸汽。公称通径范围为DN6mm~DN25mm。

铜管用乳形接头中乳形接头和锥面中间接头的材料为锰黄铜(HMn58-2),外套螺母材料为铅黄铜(HPb59-1)。而钢管用乳形接头中乳形接头和锥面中间接头的材料为25号钢,外套螺母材料为15号钢。全部采用公制细牙螺纹(M22×1.5~M48×2)连接,主要用于柴油机高压燃油管路上。
螺纹接头用气焊与管子焊接时,必须先将接头拆开后单独焊接,否则会发生接头“咬死”而拆不开的现象。但对接接头管子与平肩焊接时,外套螺母必须位于平肩上。
4. 卡套接头
卡套接头是一种先进的管路连接件,属于非焊接式管件。卡套接头的优点为连接牢靠,密封性能好,外形美观,管路安装时不需焊接,可用于防火、防爆的施工场所。
图2.1.7为卡套接头结构示意图,由接头1、卡套2和螺母3组成。旋紧螺母时,接头相当于挤压模具,在螺母的推动下,卡套外侧遇到接头内锥面的作用而使卡套前部径向收缩变形,外侧与接头内锥面形成锥面密封;而卡套内侧相当于刀具,在卡套变形过程中,迫使刃口咬入钢管起到了密封作用,这样就实现了接头与连接钢管之间的密封和紧固连接作用。

卡套接头按其用途可分为两大类:
⑴ 气动、信号用卡套接头 此类卡套接头主要用于气源、信号管路。接头、卡套和螺母的材料均采用黄铜(H62)制造,有时外表面经镀铬处理,管子材料一般为 Φ61mm~Φ121.5mm的紫铜管,适用于公称压力PN≤1MPa的管路。
⑵ 测量、液压传动用卡套接头 此类卡套接头主要用于仪表测量、液压传动管路。其材料及适用范围见表2.1.4。管子常用规格为Φ81mm~Φ223mm的无缝钢管。

卡套接头常用形式有旋入接头、中间(直通或直角)接头、三通接头及压力表接头等。
卡套接头能否保证良好的工作性能,与安装方法是否正确有极大的关系。在施工安装时必须达到下列要求:
① 管子表面不得有拉痕、裂纹、锈蚀等缺陷存在;
② 连接钢管的外径偏差不超过±0.3mm时,方可得到满意的连接效果;
③ 管子切割面应保证与轴线垂直,并不能有毛刺、脏物,用于高压连接的钢管事先最好用细砂纸打磨管子插入部分的外表面;
④ 外套螺母、卡套在管子上的位置方向要正确,管子应顶紧在接头的止推面上;
⑤ 拧紧螺母时,用力要均匀,拧紧后可松下螺母,观察卡套是否咬进管子表面,正式安装时,仍需用力拧紧。
5. 由任接头
当管路中介质的工作压力小于0.6MPa、工作温度低于100℃的情况下,可采用由任接头连接。由任接头的结构见图2.1.8。

由任接头采用马口铁锻制而成,镀锌的由任接头称为白铁由任,不镀锌的由任称为黑铁由任,一般常用白铁由任。由任接头与管子都采用圆柱形管螺纹连接,其规格为G ~G2。由任接头在建筑业使用得较为广泛,船舶上基本上不使用。
三、夹布胶管接头
夹布胶管连接一般用于管子的通径小于80mm和公称压力小于0.6MPa的油、水管路上。
图2.1.9为夹布胶管连接装置简图。该装置由夹布胶管2、管箍3和连接钢管或铜管1组成。

夹布胶管由橡胶和织物材料制成,胶管的内层为橡胶胎,外层为橡胶套,中间敷设2~5层由棉织物制成的衬布,衬布的层数根据管内介质的工作压力而定。
船用胶管接头一般直接套在连接钢管或铜管上,为了加强连接的密封性和防止管子从接头中脱出,连接钢管的端部可焊一圈直径为1.2mm~2mm的金属丝或车制一道环形凸圈,对于铜管可以用滚线机滚出环形凸圈。连接钢管和胶管是用特制的管箍夹紧的。
夹布胶管连接用于水温低于100℃的水管路上,如用于油管路时,油温必须低于80℃,同时采用耐油橡胶。
夹布胶管连接具有下列优点:结构简单,安装方便,连接后有一定的弹性,可隔离机械振动对管系的影响;管子膨胀或船体变形而引起管子弯曲时,接头有一定补偿作用;由于接头重量轻,可以减轻管路的重量。但是,也有下列的缺点:使用寿命较短,容易发生泄漏现象;耐热、耐压性能较差,只能用于低温、低压的管路上。
夹布胶管连接主要用于小型发电机冷却水的进、出口管路和离心式分油机的进、出水以及废气蜗轮增压器的润滑、冷却管路上。
四、焊接连接
对一些不需要拆卸的管子(如空气管和测量管)、密性要求高的管子(如冷冻剂和液化气管)或所在处所不允许有可拆接头的地方可以采用焊接的方式连接。常用的焊接连接有对接焊和套接焊。
1. 对接焊
对接焊可用于任何压力、通径的钢管和铜合金管,不适合于紫铜管。管子与管子、管子与附件对接时,其边缘要进行准备处理。钢管边缘准备和间隙的具体要求见表2.1.5。
对接焊可采用CO2焊或惰性气体保护焊。当管子壁厚较大时,也可先用CO2焊或惰性气体保护焊打底,再用电弧焊进行焊接。

2. 套接焊
套接焊根据套管型式可分为普通套管、座式套管和带银焊丝的套管。
表2.1.6所示的为这三种套管连接型式。采用普通套管连接时,套管的材料应与连接的管子同质,套管的位置应居中,一般来说,套入长度5t(t为管子壁厚),套管厚度1.25t。表2.1.6中的要求为最低要求,实际操作时可选用标准套管。
座式套管和带银焊丝套管均为成品,根据管子的外径进行选用或按成品规格选用相应的管子。表2.1.7为套管连接时的焊接要求。
套管适用于污水和灰水管系统、燃油泄放和溢流管系、滑油泄放管系、舱底及油渣泄放管系、甲板疏排水管系、透气管系、测量管系、CO2管系、加热盘管、蒸汽泄放、氧乙炔管、蒸汽和空气安全阀排放管等。但下列场合必须使用法兰连接:排水(油)口连接管;箱柜连接短管;与阀件连接处(除对接焊的阀),测量管未端等。在集控室的上方、隔离空舱内、结构舱柜内、主机上方甲板下的油管、发电机上方和电气设备的上方等区域可以使用套管连接。


套管连接在施焊前应清除焊接部位的氧化皮、铁锈、潮气、油污、油漆、熔渣及其他可能影响焊接质量的污物,并检查焊缝间隙和坡口等是否符合要求。为了保证焊接质量,各种焊缝应尽可能采用俯焊位置,施焊结束后应立即清除焊渣与飞溅物,检查焊缝的外表质量,即焊缝表面应光滑清洁,不得有裂纹、焊瘤、气孔以及未填满的弧坑或凹陷存在。管子内壁产生的溶滴与塌陷应予以修补。
五、低压套接式管接头
套接式管接头分为无锁紧环接头和带锁紧环接头两种型式。按结构分有直通接头(等径、异径和外螺纹)、弯接头(45度和90度)、三通接头(等径和异径)共三类七种。船舶上一般应使用带锁紧环接头的型式。
图2.1.10所示为直通异径带锁紧接头的套接式管接头结构图,标准号为GB/T14414-93。它由本体1、压紧螺母2、密封环3、垫圈4、锁紧环5等组成。其中本体和压紧螺母的材料为可锻铸铁(KTH350-10)、铸钢(ZG230-450)或铸铜(ZCuZn16Si4),垫圈的材料为Q235-A,密封环材料为丁腈橡胶或氟橡胶,锁紧环材料为65Mn。

该接头适用于公称通径为10 mm ~80mm,公称压力不大于1.6MPa,液体介质为淡水、海水、污水、燃油、滑油、空气、煤气和温度不高于120℃的管路的连接。
安装该接头时应按标准要求进行,管子端部应垂直于管子中心线,一般应采用机械切割,去除毛刺和杂物;管子伸进接头的长度(L)要符合规定尺寸,即通径为15mm~25mm接头其管口至密封环里口的距离为15 mm,通径为32mm~50mm接头的距离为20mm,通径为65mm、80mm接头的距离为25mm。
第二节 常用阀件
为了控制管路中工作介质的流量和流动方向,在管路中装置各种控制阀件。常用的有截止阀、止回阀、截止止回阀、闸阀、蝶阀、阀箱、旋塞、球阀等。
一、截止阀
截止阀是最常用的一种阀件,它的用途是截止或接通管路中的介质。

截止阀根据它的进出口中心线的相对位置,分为直通(A型)和直角(B型)两种形式,直通截止阀的进出口中心线在一条直线上,直角截止阀的进出口中心线呈直角布置;根据连接的方式可分为法兰式、外螺纹式、内螺纹式、对焊式和胶管连接式;根据材料分有铸铁、铸钢、锻钢、青铜、不锈钢和铝合金等;截止阀还按压力等级分类,分类方法与法兰的压力等级相同。但所有的截止阀其结构及工作原理基本相同。
图2.2.1为法兰铸铁截止阀的结构示意图。阀座2直接压在阀体1内,阀杆4的下部与阀盘3采用浮动连接,这样阀盘3 在下降过程中可以有些摆动,可使阀盘3与阀座2的配合准确,保证了截止阀的密封性。阀杆4上部的梯形螺纹与阀盖7互相啮合,阀杆4方头上装有手轮8,手轮8用螺母9固定。阀杆通过阀盖7处装置填料5,由填料压盖6压紧,保证工作介质不会从阀杆四周溢出。
逆时针转动手轮,阀杆带动阀盘离开阀座,此时截止阀呈打开状态,介质从图示方向进入和流出截止阀,管路呈流通状况。反之,则关闭管路。
截止阀的标准与法兰一样,常用的有国标GB和外贸标准CBM两大类。其中国标包括二进位和符合ISO的四进位两类。CBM标准与JIS的相应标准一致,CBM标准(符合JIS标准的阀)属于过渡标准,正在被CB标准所代替。但由于目前在一些船厂还在使用,所以仍需要了解。常用的截止阀标准及适用范围见表2.2.1和表2.2.2。


标记示例:压力为10.0MPa,通径为6mm的船用外螺纹锻钢直通截止阀标记为:
直通截止阀 A100006 GB594-83
截止阀的使用和安装时注意如下几点:
⑴ 根据工作介质的工况(压力、温度)和性质选合适的截止阀;
⑵ 截止阀手轮顺时针旋转为关,逆时针旋转为开,可安装于任何位置上;
⑶ 截止阀阀件上的箭头方向必须与工作介质的流通方向一致。若箭头标志不清,则一律以“低进高出”为原则确定阀的流通方向(安装于油舱上的快关阀则相反)。
⑷ 选用正确的连接形式和垫片。连接法兰或螺纹的结构形式都应与截止阀相同。
二、止回阀
止回阀又称单向阀,它只允许工作介质从一个方向通过而能阻止其逆向回流。止回阀根据结构区分主要有升降式止回阀、摆式止回阀和竖形止回阀等。
1. 升降式止回阀
升降式止回阀是最常用的一种止回阀,它也有直通(A型)和直角(B型)两种形式,如图2.2.2所示。按材料、连接方法或压力级分类均与截止阀相似。

升降式止回阀由阀体1、阀座2、阀盘3和阀盖4组成。阀座2直接压在阀体1内,为了保证阀盘3正确地关闭,阀盘3上部有导向杆伸入阀盖4的导筒内,可以引导阀盘作上下升降运动。当工作介质按图示方向进入阀盘的下部时,如果工作介质作用于阀盘下部的力大于阀盘重量和上部的作用力,阀盘就被抬起而离开阀座,此时,止回阀的通道就打开了,工作介质从止回阀的出口流出。当工作介质逆向流动时,工质的作用力就作用在阀盘的上方,再加上阀盘本身的重量作用,阀盘就紧紧地压在阀座上,阻止了工质的逆流。

止回阀的标准及适用范围见表2.2.3和表2.2.4。除了表中所列的止回阀外,还有与其工作原理相同的竖形止回阀(CB/T11696-1996)和法兰吸入止回阀(CB/T3478-92)。见图2.2.3所示。竖形止回阀可以安装在垂直管路中,吸入止回阀一般安装在吸入管路的未端,它的密封方式有软密封和硬密封两种,图示的为硬密封。它们均适用海水、淡水和油类管路,但介质流向只能从下向上流动。但竖形止回阀使用场合很少,结构又较落后,所以管附件标准化技术委员会准备废止该标准。


升降式止回阀的使用和安装应注意以下几点:
⑴ 根据工作介质的工况(压力、温度)和性质选用合适的止回阀;
⑵ 升降式止回阀只能安装在水平管路上,不能安装在垂直管路上。安装在水平管路上时,阀盘的导向杆一般应垂直向上,允许有少量偏斜,但不垂直度应小于15°,以保证阀盘的导向杆能在阀盖的导筒内自由地升降。
⑶ 阀体上的箭头方向必须与工作介质的流通方向一致。若箭头标志不清,则一律以“低进高出”为原则安装。
⑷ 选用正确的连接形式和垫片。
2. 摆式止回阀门
摆式止回阀根据用途可分为旋启式止回阀、防浪阀和板式止回阀。
⑴ 旋启式止回阀和防浪阀
图2.2.4(a)和(b)分别为旋启式止回阀和直角防浪阀的示意图。它们主要由阀体1,阀盘2、转动轴3、阀盖4和螺塞5(仅防浪阀有)组成。
旋启式止回阀的工作原理是当介质从图示方向进入阀盘的左边时,在流体压力的作用下,阀盘2就会绕着转动轴3向右摆动,阀就开启。反之阀盘就紧压在阀座上,阻止了介质的逆向回流。
防浪阀的工作原理与其相同,但阀体上的螺塞5可作冲洗和疏通之用。它与旋启式止回阀的区别在于:一是使用的范围不同,旋启式止回阀一般适用于燃油 和滑油的泄放管路,装于管路中间,而防浪阀主要适用于疏排水管路,装于舷侧排出口处;二是旋启式止回阀进出口通径是一样的,而防浪阀的出口通径一般均比进口大一档;三是防浪阀有直通和直角型,还有立式防浪阀和可闭立式防浪阀等,而旋启式止回阀一般只有直通型式。图2.2.5(a)为立式防浪阀的示意图。立式防浪阀阀盘的另一端还设有一平衡重块,可使阀内没有介质流通或反向流动时处于关闭状态。图2.2.5(b)为可闭立式防浪阀。


它们的阀体一般都是整体浇铸而成,其进出口均为法兰连接形式,常用的标准和适用范围见表2.2.5。

⑵ 板式止回阀
板式止回阀的结构非常简单,主要由阀体、阀盘和密封圈组成。它的工作原理与旋启式止回阀相同,但其转动轴与阀盘是一个整体,松挂在阀体的凹槽内,没有专门的转动轴,采用对夹式安装。图2.2.6所示的为CB/T3819-1999 板式止回阀结构图。它的公称压力为1.0MPa,公称通径为50mm~500mm,适用于海水和淡水管路。阀体的材料为铝青铜(QAl9-2),阀盘的材料为铸铝青铜(ZQAl9-2)。
板式止回阀的优点是占用空间小,特别是长度(厚度)短,适合于机舱狭小区域使用;结构十分简单,加工方便。但也有明显的缺点,就是流通面积减小太大,对于小通径的管子更是如此;流动阻力增大;在使用中时有阀盘脱落的现象,可靠性差。因而使用范围不多。

三、截止止回阀
截止止回阀是具有截止和止回(阻止工作介质逆向流动)双重作用的阀件。它的阀体、阀盖等和截止阀完全一样,与截止阀不同的仅仅是阀盘2和阀杆1的结构,它的阀盘并不固接在阀杆上,而是由带有止动凸肩的阀杆松插在阀盘的导孔中央,如图2.2.7所示。

由于截止止回阀的阀杆1只是松插在阀盘2的导孔中央,因此当手轮顺时针旋转阀杆下降时,阀杆顶住阀盘并强迫阀盘下降而紧紧地压在阀座3上,此时起截止作用;而当手轮逆时针旋转阀杆上升时,阀盘并不随之提起,只有在介质作用于阀盘下面的作用力大于阀盘上面的作用力和阀盘的重量时,阀盘才能抬起(抬起的高度则按阀杆上升的高度而定)。介质回流时,阀盘则下降而自动关闭阀门,此时起止回作用。
截止止回阀也有直通和直角两种形式,材质、连接方式和适用范围等基本上与截止阀相似。具体见表2.2.6和表2.2.7。


由于规格相同的截止止回阀和截止阀的外形是一样的,因而特别要注意不要搞错。区别它们的方法是将阀的阀杆升到最高处,然后提起来摇一摇,如果有响声的就是截止止回阀,没有响声的就是截止阀。这是由于截止止回阀的阀杆是松插在阀盘导孔的中央,阀杆上升不能带动阀盘一起上升,摇动时阀盘就会发出撞击阀座的响声;而截止阀的阀杆与阀盘是固接在一起的,阀杆上升也带动阀盘一起上升,所以摇动时就不会发出响声。也可以将手伸到阀盘的下部去托阀盘,如果阀盘能够托起就是截止止回阀,不能托起就是截止阀。也可以在阀件的出口处观察阀盘的状态,如果阀盘仍坐在阀座上,则为截止止回阀,如果阀盘已离开阀座与阀杆连在一起,则为截止阀。这些方法都只能应用在阀件安装之前,安装好后无法区别。因此,为了便于安装后能区别不同的阀件,可以在截止止回阀的阀杆顶部加工出一字槽或十字槽,也可以在阀杆顶部涂上红色或黄色的油漆,而截止阀阀杆顶端应为平滑的端面,以便于操作者手感目测。
截止止回阀的使用和安装应注意如下几点:
⑴ 根据工作介质的工况(压力、温度)和性质选用合适的截止止回阀;
⑵ 手轮顺时针旋转为关,逆时针旋转为开(相当于截止阀)。
⑶ 直通式截止止回阀只能安装在水平管路上,不能安装在垂直管路上。直角式截止止回阀进口向下,安装于垂直管路上,出口安装于水平管路上。安装时阀杆一般应保持垂直向上,允许有少量偏斜,但不垂直度应小于15°。同时要按阀体上的箭头方向或“低进高出”为原则确定进出口方向。
⑷ 选用正确的连接形式和垫片。
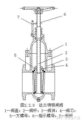
四、闸阀
闸阀又称闸门阀,是一种使用较为广泛的截止阀件。根据闸阀工作时阀杆位置的不同,分为阀杆固定式和阀杆上升式两种形式。
1. 阀杆固定式闸阀
图2.2.8为法兰铸钢闸阀,属于阀杆固定式(是指阀开关后的阀杆高度位置不变)的闸阀。它主要由阀盖1、阀杆2、阀体3、阀芯4和方螺母5组成。阀杆2上、下两端都加工有左旋螺纹,上端为普通螺纹,下端大都为双头梯形螺纹,中间有一道止动凸肩。中空的楔形阀芯4上部开有凹槽,槽内装有梯形螺纹的方螺母5。指示装置由固定在阀体上的标杆7和能随阀杆转动而上下移动的指示螺母6组成。阀杆上部螺纹与指示螺母啮合,止动凸肩松套在阀盖1内,下部螺纹与阀芯内的方螺母啮合。转动手轮时,由于阀杆中部止动凸肩的限制,阀杆只能转动而不能上下运动,跟阀杆下部啮合的方螺母由于受到阀芯的限制,能随着阀杆的转动而上下运动,从而带动阀芯上下运动形成闸阀的开关,阀的开启高度由指示装置反映出来。

2. 阀杆上升式闸阀
阀杆上升式闸阀与固定式的区别在于阀杆上部螺纹与阀盖上的螺纹啮合,下部没有螺纹而直接与楔形阀芯连接,中间也没有止动凸肩(与截止阀相似)。转动手轮时,阀杆一边转动一边直接带动阀芯上下运动而形成闸阀的开关,阀的开启高度直接从阀杆上反映出来。
闸阀与截止阀比较有以下的优点:流通截面大,介质流动阻力小;不分进出口,介质可从任何一侧通过;结构长度短,因而法兰间装配长度亦短;开关比较省力。但是闸阀也有以下缺点:阀芯和阀座间的密封面制造复杂,,由于经常摩擦容易磨损,从而会影响和丧失密封能力,因此不能承受较高的压力;高度方向较大,占用的空间多,使用也受到限制,闸阀阀芯的下部凹槽内常有积水,容易引起腐蚀,尽管设有泄放螺塞,但操作不方便。
闸阀常用的材料有铸铁、铸钢和青铜等,连接方式主要为法兰连接,小型闸阀也有内螺纹连接的。具体见表2.2.8。

闸阀的使用和安装应注意如下几点:
⑴ 根据工作介质的工况(压力和温度)和性质选用合适的闸阀。
⑵ 安装阀杆上升式闸阀时,要留出足够的高度空间。
⑶ 可用于双向流动的管路,安装时不考虑阀的进出口,同时可安装于任何位置。但采用单斜面阀盘的闸阀,阀盘平直面一侧应为进口侧。
⑷ 选用正确的连接形式和垫片。
五、蝶阀
蝶阀是一种比较新型的阀件,近年来在船舶上得到广泛的应用,而且种类繁多。特别是随着船舶自动化程度的提高和机舱的小型化,应用的范围更大了。
蝶阀按连接的方式分有对夹式和法兰式两种;按结构形式分有中心型和双偏心型两种;按驱动的方式分有手动(手轮、手柄和蜗轮)、气动、液动和电动(均有单缸、双缸两种);按阀的密封圈材料分有丁腈橡胶(NBR)氟橡胶(FPM)两种;按阀体的材料分有铸钢、灰铸铁和球墨铸铁等。船厂可以按要求任意组合,以满足设计的要求。
图2.2.9为蝶阀的工作原理示意图。阀杆3与驱动机构连在一起,当驱动机构转动时,阀杆就带动阀盘一起转动,当阀盘与介质的流动方向垂直时,阀就呈关闭状态,如图所示;当阀盘与介质流向成某一角度或平行时,阀就呈开启状态。通过改变阀盘与介质流向的相对角度就可以调节阀的流量。根据上述的结构特点,可见从理论上蝶阀是不分进出口的,可用于双向流动的管路。实际上中心型蝶阀可任意方向安装,偏心型蝶阀的进口侧应为阀瓣的背面为好。图2.2.10为船用双偏心型法兰式螺杆手动蝶阀的简图。


所谓双偏心蝶阀,即阀杆的中心线与阀体的轴向中心线及径向中心线均有一定的偏心。其优点是当阀杆转动时,其密封圈很快就与阀座脱离或接近关闭时才接触,使密封圈不易磨损,延长了阀件的使用寿命。从图上还可以知道该阀的操纵方式是手轮通过蜗轮蜗杆带动阀盘转动的,因而它具有操纵轻便、理论上手轮可以安装在平面上任意位置,实际上有四个互相垂直的角度供选择,大大地方便了管路的布置。
蝶阀的国家标准主要有GB/T3036 船用中心型蝶阀和GB/T3037 船用双偏心蝶阀,压力等级为1.0 MPa和1.6MPa,公称通径为80 mm ~800mm。标准中共有22种不同型式的蝶阀供选择。但各阀件制造厂也有各自的标准可供选择。并且可以按船厂的要求制造更大的蝶阀。
蝶阀之所以能很快推广应用,是由于它具有较多的优点:结构长度短,开关省力;且开关可以仅转90度,容易做到自动控制,适合于阀门遥控系统;流动阻力小。缺点是小口径阀的流通面积减小较多;橡胶密封圈易磨损和老化,寿命相对较短,但通过改进橡胶的成份及采用双偏心型式等此缺点已有了很大的改变。
来源讲武堂、龙船人
锅炉之家客服热线:











