
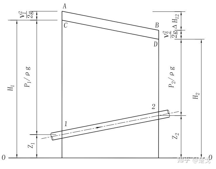
(1)水压图是基于管路各点的速度水头变化不大的情况下,或者说忽略速度水头后画出的测压管水头线,即图中的CD连线(图中AB为总水头线)。因此,水压线是测压管水头线,不包括动压水头,即Hp=Z+P/ρg ,管路中任一点的压力是测压管水头减去该点的位置标高,即P/ρg。
(2)管路中任两点的压力损失,也就是测压管水头线的差值,即△H1-2=(Z1+P1/ρg)-(Z2+P2/ρg),该差值除以两点间的长度,得到的斜率为此段管长的比压降,比压降再乘以沿程损失的占比即为比摩阻。
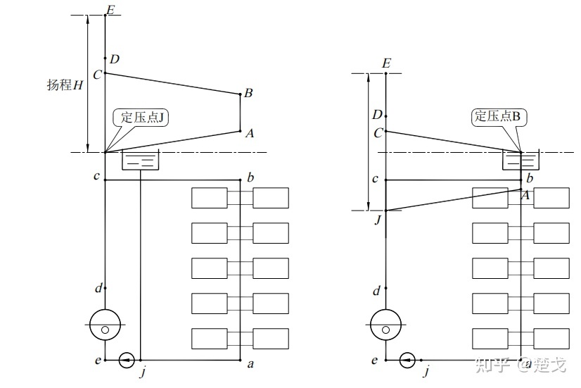
(3)定压点压力无论系统静止还是运行,都始终恒定。定压点的压力和定压点位置、系统最高点压力有关,等于膨胀水箱液面到定压点的静水高度形成的压力。
(4)对于定压点在循环水泵入口处的膨胀水箱定压方式,静水压线的标高是系统运行中的最低点。定压点设置在水泵吸入口时,运行中除了定压点外,其他点的压力都高于定压点的压力,所以静止时不发生汽化则运行中也不会发生汽化,但系统中某点在静止时不超压不代表运行中也不超压,因此要进行校核。
(5)将定压点设置在循环水泵的出口处,则静水压线将抬高到膨胀水箱的液面,会成为系统运行或停止中的压力最高点。在系统运行中,如果供水干管的阻力过大的话,将使供水水压线下降过多,有可能低于用户最高处,从而运行中存在负压而倒空可能。
(6)无论何处定压,系统运行时,沿水流方向,定压点上游某点的压力等于该点至水箱液面高差产生的静水压力加上该点至定压点的阻力损失;同理,定压点下游某点的压力等于该点至水箱液面高差产生的静水压力减去该点至定压点的阻力损失
(7)水泵入口定压方式,系统中各点的运行压力较高,其中水泵出口处的压力最高,等于静水压力加上水泵扬程,这对于建筑较高(水系统静压较大)以及水泵扬程较大的情况下,设置在建筑底层的水泵、机组运行中要承受很大的压力,设备选型有时存在问题。而定压点设置在供水立管顶端时,若末端设备如盘管的压降较大时,必须加大膨胀水箱的安装高度,否则系统中就会出现负压区吸入空气。
(8)高温热水(水温高于100℃)系统,供水管道任何一点的压力都不应低于供热介质的汽化压力,并留有30~50kPa的富裕压力,不同水温下的汽化压力(表压力)如下表。
| 水温(℃) | 100 | 110 | 120 | 130 | 140 | 150 |
| 汽化压力(kPa) | 0 | 42 | 97 | 169 | 260 | 374 |


(9)以图1.10-4为例,若系统高度30m,循环水泵扬程为25m,锅炉阻力为10m,膨胀水箱液面高度为31m,循环水泵接在锅炉进口处(标高为0m,锅炉与循环水泵高差及接管阻力忽略不计)。各管段阻力损失为:dc=1m,cb=5m,ba=4m,aj=5m。
列表分析不同定压点位置运行时各点的压力情况如下表,并可得到如下结论:

1)当定压点位于循环水泵入口时,运行时除定压点外的其余各点压力均高于静止时该点的压力。因此:静止时不倒空,运行时必不倒空;静止时不超压,运行时未必不超压(需要校核);静止时不汽化,运行时必不汽化。
2)当定压点位于回水立管顶端时,水压图整体下移。因此:沿水流方向,定压点至循环水泵入口各点运行压力低于静止时的压力,尤其是回水立管顶端附近管段有倒空和汽化可能;逆水流方向,定压点至循环水泵出口各点的运行压力高于静止时该点的压力。
3)当定压点位于供水立管顶端时,水压图整体继续下移。因此:沿水流方向,定压点至循环水泵入口各点的运行压力低于静止时的压力,尤其是供水水平干管后端及回水立管顶端附近管段有倒空和汽化的可能;逆水流方向,定压点至循环水泵出口各点的运行压力高于静止时的压力。
4)当定压点位于循环水泵出口时,水压图整体下移至最低。运行时除定压点外的各点压力均低于静止时该点的压力。因此:静止时不倒空,运行时可能倒空(需要校核);静止时不超压,运行时一定不超压;静止时不汽化,运行时可能汽化(需要校核)!
全文完
锅炉之家客服热线:











